收藏突破138亿元!《哪吒2》北美票房破亿元,排片远少于《美队4》但口碑更好!哪吒汽车紧急声明!
登顶全球动画电影票房冠军后,《哪吒之魔童闹海》(以下简称“《哪吒2》”)的票房还在狂飙。截至2月25日上午11时20分,《哪吒2》票房(含预售)已突破138亿元,位列全球电影票房榜第8,距离第7名的《蜘蛛侠:英雄无归》仅剩3亿多元。观影人次已达到2.84亿。

值得一提的是,截至上周末,《哪吒2》全球IMAX累计票房1.31亿美元,升至IMAX影史全球票房榜第9、动画类影片榜首。IMAX首席执行官里奇·盖尔方德预测,在《哪吒2》的推动下,2025年该公司票房收入将达到12亿美元。
图片来源:豆瓣电影
连续两周登上北美票房榜前5
“发行渠道成文化输出最大瓶颈”
最新一期北美周末票房排名出炉,漫威超级英雄电影《美国队长4》(Captain America:Brave New World)蝉联冠军,“现象级”动画电影《哪吒之魔童闹海》(Ne Zha2)继续以最少的放映影院数量位列前五席。《美国队长4》自14日亮相以来稳居北美单日票房榜首;第二个上映周末尽管票房环比下跌68.3%,仍以约2820万美元蝉联北美周末票房冠军。这部科幻冒险动作片北美票房现约1.41亿美元,全球票房约2.89亿美元。
一路高歌猛进连破票房纪录的奇幻动画片《哪吒之魔童闹海》,是本期榜单前五名里唯一放映影院数量仅为三位数的影片,以约439万美元周末票房续居第5位;其平均票房达5483美元,仅次于《美国队长4》。据票房统计网站BoxOfficeMojo最新数据显示,《哪吒2》自2月14日在北美上映以来,连续两周位列当地票房榜前五名:首周末2月14日至17日美国总统日假期,在772家影院收获949万美元票房;次周末2月21日至23日影院排片规模有所增加,在800家影院收获438万美元,两周北美票房累计超过1387万美元(约合人民币1亿元)。
在社交媒体平台上翻看《哪吒2》的海外观影体验,会发现,AMC是一个频繁出现在推文中的院线。AMC院线是北美最大的院线之一,2024年上半年,其票房市场份额为24%。而AMC、Regal和Cinemark并称北美院线三巨头,总共的市场份额在50%以上。
与在国内看电影主要考虑观影体验和性价比不同,在北美看电影,还需要先选电影院线。以美国市场为例,从负责《哪吒2》海外发行的华人影业的官方信息来看,此次《哪吒2》主要在AMC、Regal和Cinemark院线上映,其中AMC又占“大头”。

图片来源:《电影哪吒之魔童闹海》官方微博
也是在这种特殊的背景之下,北美票房平台在统计一部电影票房的同时,还会统计其登陆的影院数量。根据美国电影网站Box Office Mojo统计,《哪吒2》开画票房(Opening)为768万美元,登陆772家影院,刷新国产片近20年来华语发行商开画影院排片纪录。作为对比,同期上映的《美国队长4》为8884万美元,登陆4105家影院。
更明显的对比发生在票仓结构上。上述网站数据显示,截至北京时间2月24日,《美国队长4》本土票房占比为51.2%,海外票房的占比为48.8%。而根据灯塔专业版数据,《哪吒2》本土票房占比在99%以上。

换句话说,仅从海外票房来看,即便《美国队长4》被普遍认为是“平庸之作”,遭遇口碑和票房的“双杀”,但凭借其多年来积累的“家底”,取得的票房成绩依然不俗。而这背后,倚靠的不是任何技术壁垒,而是成熟的发行系统。这也是一直以来,国产电影在出海时努力布局的方向。以这次负责《哪吒2》出海的华人影业为例,其成立的重要背景之一就是为了开拓国产电影在海外的发行渠道。
目前的困局在于,正如资深华语影迷卡司在接受媒体采访时概括,“即使我们的电影制作技术已实现代际追赶,发行渠道的断层正成为文化输出的最大瓶颈。”
如果说“人心中的成见是一座大山”,那么,更具东方文化叙事结构的《哪吒2》想要“闹海”更多市场,尚待各方的合力。不过,在“翻越”海外市场的这条路上,以《哪吒2》为代表的国产电影,显然已经迈出了重要的一步。
海外观众好评如潮
口碑“吊打”《美国队长4》
“我只想说,这不仅是一部令人惊叹(amazing)的电影,它还产生了如此深刻的情感影响,我真是无法用语言来形容它。”
继海外网友掀起“交猫税”的潮流之后,小红书上又有了“哪吒税”,不少看过电影的海外网友分享起自己的观影经历和感受。像是上述网友,在当天看了《哪吒之魔童降世》(《哪吒1》)之后,出于太喜欢的原因,本来订了次日票的他也按捺不住,直接改成了当天晚上去看《哪吒2》。
当然,这并不是个例。在有“美国版贴吧”之称的Reddit上,海外网友同样表达出对《哪吒2》的喜爱。
首先是关注度上,由于《哪吒2》实在是太火,特别在打破多个票房纪录之后,很难不“勾”起海外网友的好奇。在一条讨论《哪吒2》登顶世界动画电影影史票房榜单的帖子下,一位自称在中国当外教的网友提道,“他们完全是狂热的状态,有个学生都看了7次了。”

对此,就有网友发问,“对于一位平常看迪士尼和皮克斯动画电影的西方观众来说,《哪吒2》好理解吗?”

一条“高赞”评论如此写道,“你可能不太能理解其中的许多引用以及它玩的‘梗’,但动画本身绝对美得令人惊叹,仅凭这一点就值得一看。”

除了对动画制作水平的关注外,海外媒体以及资深影评人对电影情节的评价数量虽不算“铺天盖地”,但评价的内容依旧可圈可点。
比如,以已故著名影评人罗杰·艾伯特(Roger Ebert)名字命名的资深影评媒体“罗杰·艾伯特”网站给予了《哪吒2》三星的评价(满分为四星),并称其“在不牺牲前作成功元素的前提下,进一步提升了动作场面和戏剧张力。”作为对比,同期在海外上映的《美国队长4》评分为一星。

行业资深媒体Deadline也表示,除了出彩的视觉以外,电影在剧情方面也有进一步的发展,“在第一部电影中,哪吒了解到了自己身世的真相,而在《哪吒2》中,他真正地成长了起来。鉴于这部续集在中国的成功,推出第三部电影似乎已成定局,并且有望进一步拓展故事。”
目前《哪吒2》在有“美国豆瓣”之称的IMDb网站评分为8.3分,而《美国队长4》仅为6.1分。在中国豆瓣网双方差距则更大:《哪吒2》为8.5分,《美国队长4》仅有5.2分。


票房大卖带动周边火热
业内:爆款电影的经济潜力不可估量
随着《哪吒2》票房狂飙,围绕《哪吒2》掀起的消费热潮也在不断发酵,特别是周边产品的销售火爆。据不完全统计,截至目前,《哪吒2》的联名品牌数量已超过20个,覆盖十数个不同行业。其中,潮玩消费尤其突出。伴随着“谷子经济”爆发的热潮,文娱IP企业争相布局。
2月份,上海阅文信息技术有限公司旗下衍生品品牌阅文好物与新锐IP衍生品品牌FunCrazy疯玩宣布,双方就现象级爆款电影《哪吒2》衍生品发售达成合作,阅文好物获得FunCrazy疯玩《哪吒2》衍生品的国内总经销权。据了解,双方此次将合作销售多款《哪吒2》IP衍生品,多款产品已在线上全渠道开启预售。
阅文好物方面向《证券日报》记者表示,与FunCrazy疯玩合作后,阅文好物将利用自身的衍生品线上线下全渠道发行优势助力《哪吒2》走进千家万户。同时,这次合作也标志着阅文好物IP衍生品发行能力的系统化升级,此后除了售卖上海阅文信息技术有限公司旗下《庆余年》《全职高手》《诡秘之主》等耳熟能详的IP衍生品外,阅文好物也将开放合作生态,利用完善的渠道优势及丰富的IP衍生品运营经验,与全行业伙伴加大合作,共同放大优质IP的影响力。
平台方面,阿里巴巴授权宝(天津)文化传播有限公司(以下简称“阿里鱼”)旗下娱乐电商平台阿鲤鱼(天津)文化传播有限公司杭州分公司,与《哪吒2》同步推出官方周边手办众筹项目,截至2月24日,该项目众筹金额已经达到3239万元,成交量达到75050。
谈及《哪吒2》的联名热潮,阿里鱼相关负责人向《证券日报》记者表示,爆款IP的出现和长线运营,能帮助“谷子经济”扩大市场,实现良性发展。同时,以《哪吒2》为代表的国创IP能逐渐改善海外IP在“谷子经济”中的主导地位。
有业内人士表示,爆款电影的经济潜力难以估量,这也是《哪吒2》“电影+”模式大获成功的核心原因。
哪吒汽车:从未起诉《哪吒2》
其与光线传媒商标纠纷已持续多时
哪吒汽车法务部官微24日发布《哪吒汽车关于网络不实信息的严正声明》。声明表示,哪吒汽车从未对《哪吒之魔童闹海》电影出品方(以下简称《哪吒2》)提起过诉讼。网络传播的“哪吒汽车起诉哪吒电影”“哪吒汽车向哪吒电影索赔500万”等消息均属捏造。
声明表示,哪吒汽车在《哪吒2》公映前,就策划执行了邀请哪吒车主观影的大规模赠票活动,并安排员工与经销系统组织线下观影上百场,以实际行动支持国产动画电影。
声明称,针对个别自媒体恶意捏造的谣言,哪吒汽车法务部门已完成网络平台取证工作。
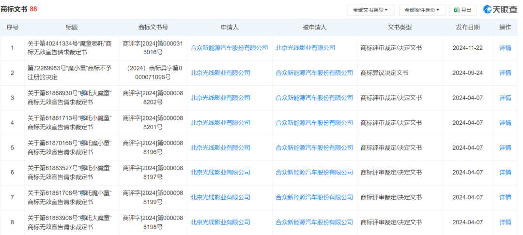
这场辟谣背后,是双方旷日持久的商标争夺战。天眼查显示,双方之间的确曾有过商标纠纷。而在《哪吒之魔童闹海》(《哪吒2》)热映后,双方之间曾经的纠纷再度引发关注。
天眼查示,哪吒汽车即合众新能源汽车股份有限公司曾申请北京光线影业有限公司“魔童哪吒”商标无效。哪吒汽车公司以“在争议商标申请日前,光线影业与哪吒汽车存在合同、业务往来关系,光线影业明知哪吒汽车‘哪吒’系列商标仍注册争议商标,恶意明显”等为由,请求对争议商标“魔童哪吒”予以无效宣告。后经商标局评审,哪吒汽车无效宣告理由不成立,争议商标予以维持。


此外,哪吒汽车于2023年申请的一枚“魔小童”商标曾受到光线影业的异议,最终被商标局决定不予注册。光线影业还申请对哪吒汽车所申请的哪吒大魔童、哪吒小魔童等商标进行无效宣告。
2月25日,光线传媒股价继续回调,截至中午收盘,跌幅超过6%,报25.26元,较一周前最高的41.68元跌近40%,不过仍较《哪吒2》上映前涨超160%。

(声明:文章内容和数据仅供参考,不构成投资建议。投资者据此操作,风险自担。)
本文为转载发布,仅代表原作者或原平台态度,不代表我方观点。澳洲印象仅提供信息发布平台,文章或有适当删改。对转载有异议和删稿要求的原著方,可联络 [email protected]




















你需要登录后才能评论 登录